法拉利为“药丸形”活塞发动机申请专利 更加紧凑且摩擦更小

暖心车日记讯 据外媒报道,法拉利向欧洲专利局(European Patent Office)申请了一项新的发动机设计专利,该设计采用椭圆形(更像是药丸形状)活塞,而不是广泛使用的传统圆形活塞,可能会彻底改变内燃机。这种设计在纵向上更加紧凑,可以实现比当前小得多的发动机。这些活塞还具有降低摩擦的潜力,这意味着功率更大、效率更高。

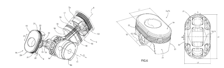
(图片来源:欧洲专利局)

该申请中指出,典型的圆柱形活塞形状存在“一些缺点”,受传统设计的限制而无法解决,因此需要一些更激进的方法。本质上来说,法拉利所做的相当于将标准发动机纵向挤压(如同挤压啤酒罐),比如纵向缩小5.0升V8发动机缸体,结果得到又高又细的活塞。当然,法拉利的做法要稍微复杂一些,因为它采用具有适当半径的活塞,而不是真正的“椭圆”形状,但基本思路是一样的。

这不仅让它们更容易适应狭小的空间(在跑车世界,法拉利以独特的中置发动机设计著称),还使发动机重量更靠近汽车转动中心的位置,更便于汽车转弯。发动机变小还能创造更多空间,有利于在发动机和变速器之间集成混合动力部件。

法拉利的设计采用垂直加长的活塞。法拉利工程师解释了其工作原理:将活塞做成药丸状,这使它们在一个方向上更短,在另一个方向上更长。由于短尺寸垂直于曲轴,法拉利可以将活塞放得更近。对于其V12公路车来说,发动机的总长度变短具有重要意义,尤其是考虑到未来的电气化计划和中置V12发动机。

为了使布局更短,法拉利专利提出新的曲轴和连杆设计。不同于通常每个活塞的一根杆连接到曲轴上的一个轴承,该设计可以让两个相对的活塞使用相同的曲轴轴颈。这可以简化制造、减少摩擦,并有助于使发动机更短。

减少药丸形活塞的左右移动还具有其它潜在优势。专利申请显示,活塞长边上有巨大的凹槽,可以减少活塞和气缸壁之间的摩擦。

自从1996年F512M停产以来,法拉利再未在非限量版量产车型中将V12发动机放在驾驶座后面(Enzo和LaFerrari产量有限)。这种布局可能有助于重新推出像Testarossa这样的经典车型,也不能排除法拉利将这种设计用于未来某款赛车的可能性。

当然,实现全新的发动机理念面临着巨大的挑战。毕竟圆形部件应用广泛,而且以往许多汽车专利并未真正投入使用。